BMW, известная своими инновациями и любовью к персонализации, решила сделать еще один шаг вперед в области кастомизации автомобилей. Компания разработала новый патент, позволяющий превратить боковые зеркала автомобиля в персонализированные мини-дисплеи. Согласно патенту, обнаруженному американскими СМИ, зеркала могут быть оснащены небольшими LED или OLED экранами, которые будут отображать кастомные надписи или изображения, управляемые через iDrive или приложение My BMW.uspto.govЗеркальные панели могут быть использованы для демонстрации имени владельца, никнейма или даже статуса зарядки электромобиля. Хотя дисплеи будут достаточно малы, чтобы не отвлекать других водителей, они добавляют новый уровень индивидуальности. Кроме того, BMW рассматривает возможность использования этих экранов как дополнительных индикаторов поворота, что может сократить расходы на производство.Эта новация от BMW не только расширяет возможности персонализации, но и подчеркивает стремление бренда к уникальности и инновациям в автомобильной индустрии. Пока неясно, когда такие зеркала появятся в серийных моделях, но идея уже вызывает интерес среди автолюбителей.
32 Cars
info@32cars.ru
32 Cars
166
26
166
26
2024
Мировые новости
ru-RU
32 Cars
info@32cars.ru
32 Cars
166
26
166
26
1366
768
true
1366
768
true
32 Cars
info@32cars.ru
32 Cars
166
26
166
26
13 августа 2024 13:28
BMW разработала зеркала с сюрпризом
A. Krivonosov
BMW превращает боковые зеркала в персонализированные рекламные щиты
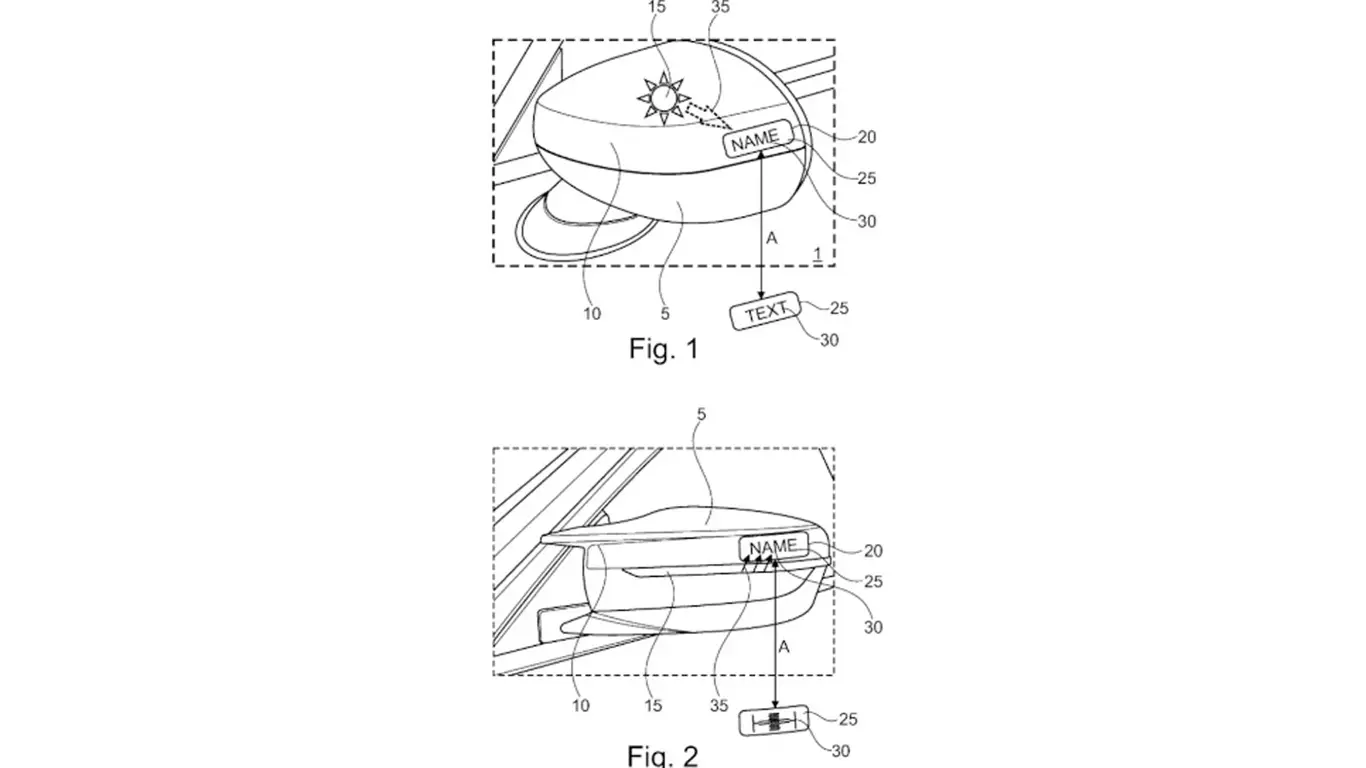
BMW, известная своими инновациями и любовью к персонализации, решила сделать еще один шаг вперед в области кастомизации автомобилей. Компания разработала новый патент, позволяющий превратить боковые зеркала автомобиля в персонализированные мини-дисплеи. Согласно патенту, обнаруженному американскими СМИ, зеркала могут быть оснащены небольшими LED или OLED экранами, которые будут отображать кастомные надписи или изображения, управляемые через iDrive или приложение My BMW.
uspto.gov
Зеркальные панели могут быть использованы для демонстрации имени владельца, никнейма или даже статуса зарядки электромобиля. Хотя дисплеи будут достаточно малы, чтобы не отвлекать других водителей, они добавляют новый уровень индивидуальности. Кроме того, BMW рассматривает возможность использования этих экранов как дополнительных индикаторов поворота, что может сократить расходы на производство.
Эта новация от BMW не только расширяет возможности персонализации, но и подчеркивает стремление бренда к уникальности и инновациям в автомобильной индустрии. Пока неясно, когда такие зеркала появятся в серийных моделях, но идея уже вызывает интерес среди автолюбителей.
Автор: Юлия Зурилина
Использование текстов, фото- и видео сайта разрешается только с указанием активной гиперссылки.