https://www.32cars.ru/posts/id-5835-jeep-vyvodit-poludveri-na-novyj-uroven-shagaj-v-dikuju-prirodu
Jeep выводит полудвери на новый уровень: шагай прямо в дикую природу
Jeep запатентовал дверцы-ступеньки для внедорожников
Jeep выводит полудвери на новый уровень: шагай прямо в дикую природу
Jeep запатентовал дверцы-ступеньки для внедорожников
2024-09-27T08:06+03:00
2024-09-27T08:06+03:00
2024-09-27T08:11+03:00
/html/head/meta[@name='og:title']/@content
/html/head/meta[@name='og:description']/@content
https://www.32cars.ru/uploads/materials/5835/inner/v5ZBWI76Ph4nKsyUhygQ.jpg
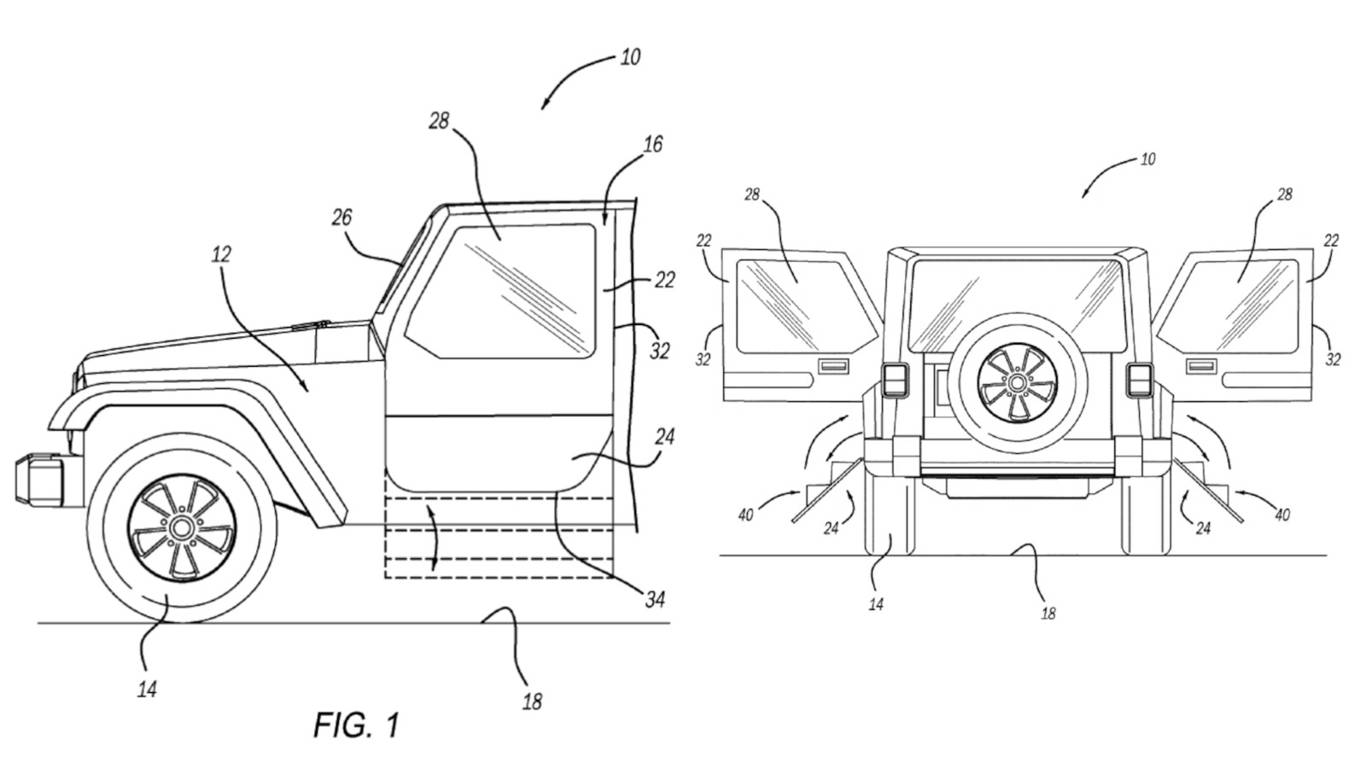
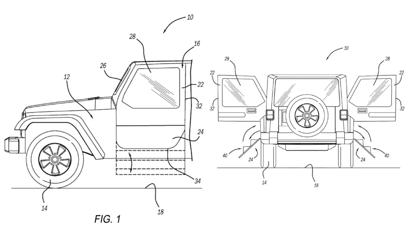
Jeep снова удивляет поклонников внедорожников, представив новую концепцию дверей, которая сочетает в себе практичность и инновации. Недавно компания Stellantis подала патент на полудвери для Wrangler, которые могут трансформироваться в боковые ступеньки, облегчая выход из машины и добавляя удобство при покорении бездорожья.Новая система предполагает, что нижняя треть двери будет складываться наружу, образуя ступеньку. Верхние две трети двери могут быть съемными, превращая Wrangler в классический внедорожник с полудверями. Этот дизайн, согласно описанию патента, также может работать с съемной крышей, что делает машину еще более гибкой для различных условий.Хотя это всего лишь патент, Jeep вполне может предложить такие двери в своем каталоге аксессуаров. Новый шаг в модификациях Wrangler доказывает, что бренд не боится экспериментов, предлагая владельцам больше возможностей для приключений.
32 Cars
info@32cars.ru
32 Cars
2024
Мировые новости
ru-RU
32 Cars
info@32cars.ru
32 Cars
32 Cars
info@32cars.ru
32 Cars
Jeep снова удивляет поклонников внедорожников, представив новую концепцию дверей, которая сочетает в себе практичность и инновации. Недавно компания Stellantis подала патент на полудвери для Wrangler, которые могут трансформироваться в боковые ступеньки, облегчая выход из машины и добавляя удобство при покорении бездорожья.
Новая система предполагает, что нижняя треть двери будет складываться наружу, образуя ступеньку. Верхние две трети двери могут быть съемными, превращая Wrangler в классический внедорожник с полудверями. Этот дизайн, согласно описанию патента, также может работать с съемной крышей, что делает машину еще более гибкой для различных условий.
Хотя это всего лишь патент, Jeep вполне может предложить такие двери в своем каталоге аксессуаров. Новый шаг в модификациях Wrangler доказывает, что бренд не боится экспериментов, предлагая владельцам больше возможностей для приключений.