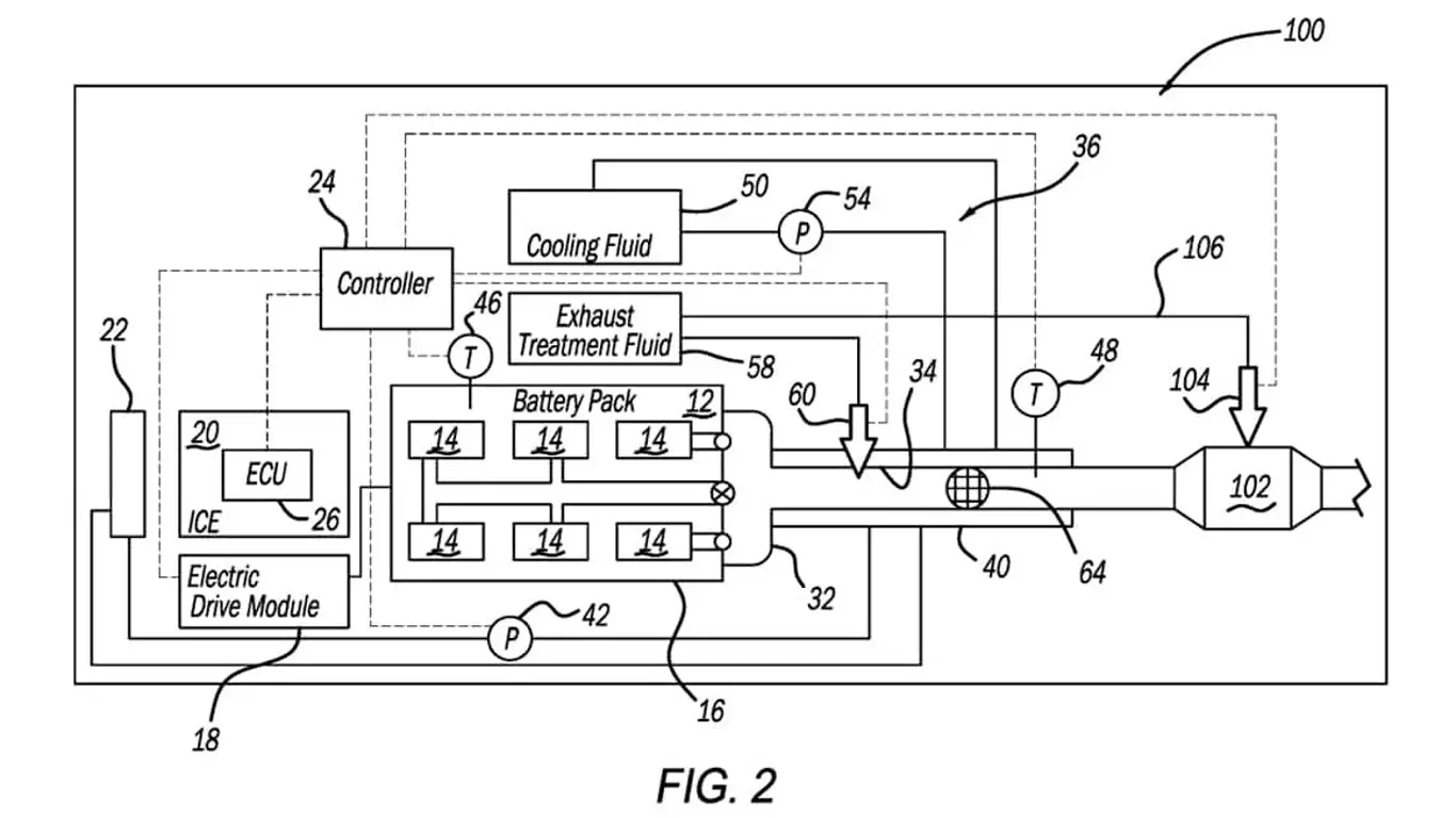
Компания Stellantis запатентовала инновационную систему безопасности для электрокаров, предназначенную для предотвращения возгорания батарей. Разработчики назвали ее «электрическим выхлопом» — не для звука, а для отвода опасных газов, выделяющихся при перегреве аккумулятора.uspto.govКогда батарея электрокара подвергается экстремальным условиям, может начаться так называемый «тепловой разгон», при котором выделяются горючие газы. Новая система Stellantis помогает вывести их наружу и дополнительно очищает перед выбросом. Это может значительно снизить риск возгорания.Безопасность электромобилей — важный фактор для их массового распространения. Новая технология Stellantis может сделать электрокары надежнее и безопаснее, привлекая покупателей.Ранее издание 32CARS.RU рассказало о том, что Stellantis взяла на себя полный контроль над производством гибридных трансмиссий eDCT.
32 Cars
info@32cars.ru
32 Cars
166
26
166
26
2025
Мировые новости
ru-RU
32 Cars
info@32cars.ru
32 Cars
166
26
166
26
1366
768
true
1366
768
true
32 Cars
info@32cars.ru
32 Cars
166
26
166
26
5 февраля 2025 09:51
«Горят электрокары? Не, не слышал»: Stellantis придумала гениальное решение
dodge.com
Stellantis запатентовала систему безопасности для электромобилей
Компания Stellantis запатентовала инновационную систему безопасности для электрокаров, предназначенную для предотвращения возгорания батарей. Разработчики назвали ее «электрическим выхлопом» — не для звука, а для отвода опасных газов, выделяющихся при перегреве аккумулятора.
uspto.gov
Когда батарея электрокара подвергается экстремальным условиям, может начаться так называемый «тепловой разгон», при котором выделяются горючие газы. Новая система Stellantis помогает вывести их наружу и дополнительно очищает перед выбросом. Это может значительно снизить риск возгорания.
Безопасность электромобилей — важный фактор для их массового распространения. Новая технология Stellantis может сделать электрокары надежнее и безопаснее, привлекая покупателей.
Ранее издание 32CARS.RU рассказало о том, что Stellantis взяла на себя полный контроль над производством гибридных трансмиссий eDCT.
Автор: Юлия Зурилина
Использование текстов, фото- и видео сайта разрешается только с указанием активной гиперссылки.