наверх

Реклама на сайте

Новости

Все новости Автоспорт Происшествия Анонсы Мировые новости Архив
21 июля 2024 14:03
В Сельцо внедорожник сбил ребёнка на велосипеде

Внедорожник сбил юного велосипедиста в Сельцо

21 июля 2024 13:58
В Брянске пожилой водитель сбил пешехода

На Орловской пожилой водитель сбил пешехода

21 июля 2024 13:56
Два человека получили травмы и один погиб в столкновении с грузовиком

В Брянской области в столкновении с грузовиком погибла женщина

20 июля 2024 14:40
Летний отпуск никто не отменял: завод «Москвич» стал

Завод «Москвич» приостанавливает выпуск автомобилей

20 июля 2024 14:11
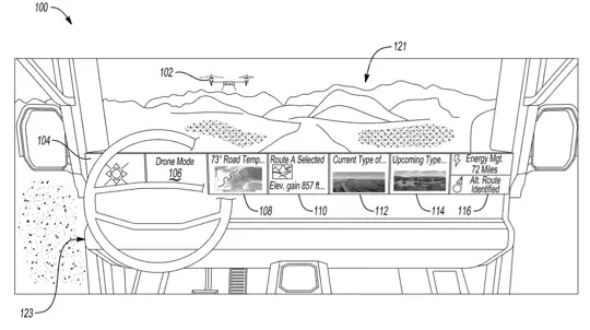
Дроны в помощь: GM готовит беспилотную навигацию

GM и Rivian разрабатывают инновационные системы для бездорожья

20 июля 2024 13:36
Genesis готовит премиальный электрокар с огоньком

«Заряженный» Genesis GV60 Magma будет выпущен в 2025 году

20 июля 2024 13:06
Российским водителям раскрыли секреты температурного контроля: как не сварить двигатель летом

«ЗР»: почему «врут» указатели температуры и как спасти двигатель от перегрева

20 июля 2024 10:55
Этот футуристический пикап мгновенно сделал дизайн Cybertruck устаревшим

Представлен концепт футуристического пикапа Scorpion с двойным кузовом

20 июля 2024 10:03
Инженеры Volkswagen едут в Китай спасать компанию

Volkswagen отправляет сотни инженеров в Китай для решения проблем с ПО

20 июля 2024 08:53
В ГИБДД рассказали российским водителям о штрафе за использования кондиционера в автомобиле

Брянским водителям объяснили, как избежать штрафа за кондиционер

1168 1169 1170 1171 1172 1173 1174 1175 1176 1177