наверх

Реклама на сайте

Новости

Все новости Автоспорт Происшествия Анонсы Мировые новости Архив
21 февраля 2024 11:14
В России может появиться множество бюджетных автомобилей из Индии и Ирана: имеют ли они шансы на отечественном рынке

Автоэксперт Демчук запустил анализ: в России могут поставить новые бюджетные автомобили

21 февраля 2024 11:01
Внимание к этим признакам убережет вас от покупки плохого автомобиля с пробегом

Автоэксперт Титов выявил пятерку признаков плохого автомобиля с пробегом

21 февраля 2024 10:45
G-Power перевоплощает BMW M240i: мощность превосходит даже M4

G-Power представила 520-сильный вариант BMW M240i

21 февраля 2024 10:26
В столкновении внедорожника и ГАЗели погиб мужчина

В Дятьковском районе в столкновении двух автомобилей погиб водитель

21 февраля 2024 09:37
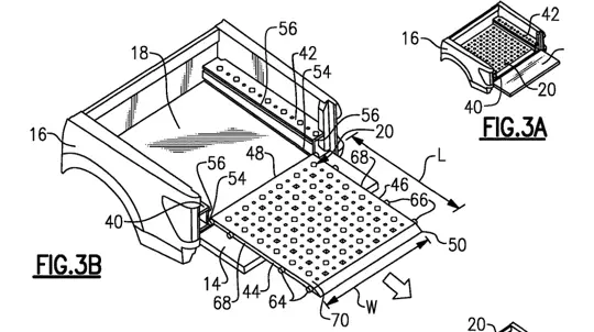
Пикап Ford легко может превратиться в самосвал

Ford патентует инновационную кузовную платформу для пикапов F-150 и Ranger

21 февраля 2024 09:09
Преемник Mazda RX-7 может появиться раньше, чем мы думаем

Mazda готовит к выходу наследника RX-7 с электрическим уклоном

21 февраля 2024 09:06
Китайская BYD порадует водителей множеством новинок на автосалоне в Женеве

Китайская BYD анонсировала дебют своих новинок в рамках Женевского автосалона

21 февраля 2024 08:53
Новые электрокроссоверы Volvo готовы удивлять водителей

Volvo запустила новые электрические кроссоверы EX40 и EC4 Performance

21 февраля 2024 08:40
Какой китайский автомобиль россияне считают идеальным?

Автоэксперт запустил исследование критерия идеального китайского автомобиля для России

20 февраля 2024 17:18
Страшно заезжать в сервис: насколько выросла стоимость техобслуживания за год

Автосервисы запустили повышение цен за техобслуживание на 38%

1429 1430 1431 1432 1433 1434 1435 1436 1437 1438