наверх

Реклама на сайте

Новости

Все новости Автоспорт Происшествия Анонсы Мировые новости Архив
27 сентября 2024 08:06
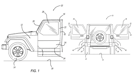
Jeep выводит полудвери на новый уровень: шагай прямо в дикую природу

Jeep запатентовал дверцы-ступеньки для внедорожников

27 сентября 2024 08:01
Скандалы и тайфуны: почему Toyota сбавила обороты

Мировое производство Toyota падает седьмой месяц подряд

26 сентября 2024 22:35
Только показали миру и уже везут в Россию: санкции не работают против самой быстрой BMW

В Россию везут партию новейших BMW M5 сразу после мирового дебюта

26 сентября 2024 22:08
АВТОВАЗ отказывается от гарантии на автомобили LADA: причина банальна

АвтоВАЗ объяснил, на какие запчасти гарантия будет действовать после ДТП

26 сентября 2024 22:00
Honda Prelude возвращается: спортивное купе удивит всех

Honda Prelude 2026 получит гибридную установку и МКПП для настоящих ценителей

26 сентября 2024 21:33
Ford готовится вывести на рынок новую легенду: что известно на сегодня

Ford готовит к дебюту обновленный Expedition 2025

26 сентября 2024 15:17
Помесь Skoda Kodiaq и Tesla Model X: в России появится 500-сильный кроссовер

В Москве заметили новые кроссоверы Wey 07: авто сняли на фото у дилера

26 сентября 2024 15:11
Россиянам посоветовали перестраховаться: автомобильные мультимедиа могут превратиться в «кирпич»

Эксперт Новиков назвал опасность отключения Google в автомобилях

26 сентября 2024 14:33
АВТОВАЗ не перестает удивлять: старая НИВА получила новшество

АВТОВАЗ выпустил внедорожник Niva Legend в новом оттенке: авто сняли на фото

26 сентября 2024 14:33
Он отберет клиентов у ID.Buzz: Maxus привез в Европу новый электрофургон по веселенькой цене

Maxus обнародовал цену на электрический фургон eDeliver5

1017 1018 1019 1020 1021 1022 1023 1024 1025 1026